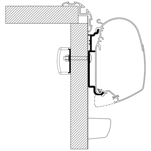
Es ist bei der Wahl des richtigen Adapters zu bedenken, ob es sich bei der zu montierenden Markise um eine Wandmarkise handelt, die mit einem Wandadapter an der Seitenwand des Fahrzeugs montiert wird, oder um eine Dachmarkise, die mit einem Dachadapter liegend auf dem Fahrzeugdach montiert wird. Die erhältlichen Adapter können sogar für einzelne Fahrzeugmodelle konzipiert sein